产品描述
Microsemi公司的1000C通过先进的SC和BVA晶体加工技术,实现了超低的相位噪声、优异的短期稳定性,和低老化率的特性。连续工作30天内即可达到标称的老化率指标,运行时间更长可以获得更加优异的表现,在连续加电运行数年之后,日老化率指标甚至低至1E-12。
1000C采用杜瓦隔热技术的恒温槽设计,在整个工作温度范围内均具有优异的温度特性,其受到温度变化影响所产生的频率改变<5.0E-9。此外,1000C还具有一个监测恒温槽温度变化的传感器(监测灵敏度:10mV/℃)。
1000C提供高性能和超高性能两个版本。超高性能版本,SSB相位噪声可达:-130dBc@1Hz、-160dBc@100KHz,稳定后,短期稳定度可以达到:2E-13(0.1s ~ 100s)。高性能版本SSB相位噪声也可达到:-120 dBc@1Hz、-160dBc@100KHz,稳定后,短期稳定也可以达到3E-13(0.1s ~ 100S)。
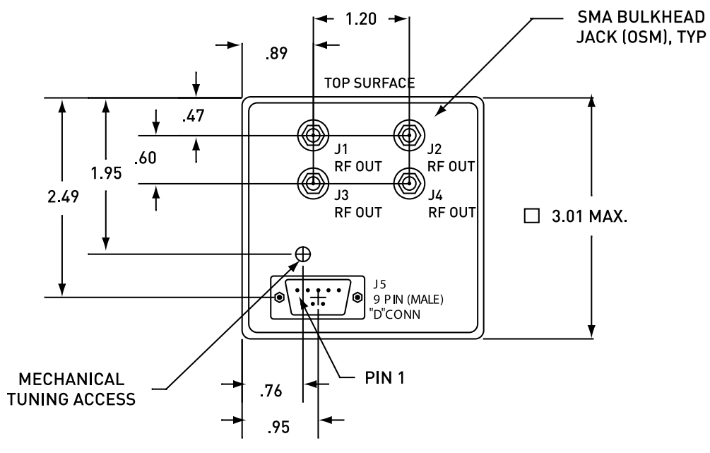
1000C采用低噪声、高隔离度的缓冲放大器提供4路独立的5MHz输出。缓冲放大器隔离信号输出尽可能不受负载变化的影响。而内部的电压调节器则使得电源纹波所引起的影响有效降低。伺服循环系统采用线性的电子频控技术来进行良好的频率调整,在压控调整的范围内,其调整线性优于5%。
1000C能够满足广泛的军事和工业环境的应用需求。其可以被应用在高精度的频率计数器和综合器、GPS接收机、微波倍频器、相位噪声校准测试设备、2级通信应用、雷达和战术通信系统、安全通信系统、卫星地面终端以及航天飞行系统等。
技术指标
频率输出:
频率:4路5kHz
幅度:1Vrms(2路),0.5Vrms(2路)
谐波:<-40dBc
杂散:<-80dBc
连接器:SMA
短期稳定性:0.1-100s)艾伦方差
<3.0E-13 高性能,<2.0E-13超高性
日老化率:(工作30天后)
<5.0E-9(在整个工作温度范围)
SSB相位噪声: 高性能 超高性能
1Hz -120dBc -130dBc
10Hz -145dBc -150dBc
100Hz -156dBc -157dBc
1,000Hz -160dBc -160dBc
10,000Hz -160dBc -160dBc
100,000Hz -160dBc -160dBc
温度特性:<5.0E-9(在整个工作温度范围)
font view![]() |
主要特点
● 低老化率:5.0E-11/天
● 低相位噪声:-130dBc@1Hz,-160dBc@100kHz(超高性能)
● 4路独立缓冲和电压隔离的5MHz输出
● 短期稳定度:0.1s至100s优于2.0E-13(超高性能)
● 快速启动:15分钟达到2.0E-8
● 可在0℃至55℃的宽温环境下运行
● 电压调节0V至10V
● 调节范围6.0E-7
频率调整
压控极性:正向
压控范围:0V-10V
负载特性: <5.0E-11,50Ω
供电电压:
8-30VDC
功耗:启动13W,运行3.5W
连接器:DB9
环境指标:
电压特性:电压改变+-1%,<1.0E-11
EMI敏感性(边频带):<-100dBc,0.1Vrms,10Hz-104Hz
操作温度:0℃至55℃
存储温度:-40℃至85℃
开机特性:15分钟,至2.0E-8
恒温槽温度监控: 10mV/℃
规格尺寸:规格尺寸尺寸:7.6cm*16.5cm*7.6cm(宽*深*高)
重量:<0.67Kg
MTBF:>130,000小时
Bottom View ![]() |
产品文档
1000C超高性能晶体振荡器【PDF】数据表
PDF




